Бывшие работники АЭХК подали на предприятие в суд
Пять российских изобретателей требуют 347 миллионов рублей за патент в сфере сейсмобезопасности. Информацией поделился адвокат истцов Георгий Невидимов, сообщает «Интерфакс».
Иск подан в Ангарский городской суд 25 января, первое заседание (собеседование) прошло третьего марта.
Известно также, что заявка на получение патента была подана 28 февраля 2005 года, дата публикации документа 27 ноября 2006 года, авторы и патентообладатели Виктор Пантелеймонович Шопен, Анатолий Николаевич Шубин, Виктор Иванович Вандышев, Любовь Яковлевна Белоусова, Николай Петрович Глухов и Валерий Анатольевич Палкин.
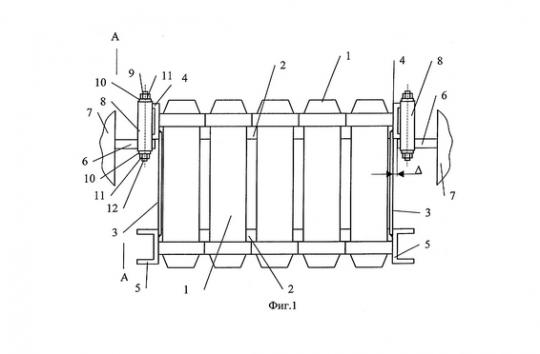
Фото. Http://www.freepatent.ru
Изобретение бывших работников Ангарского электролизного химического комбината относится к газовым центрифугам для разделения смесей газов и изотопных смесей заводов по разделению изотопов урана или многоагрегатных стендов по разделению стабильных изотопов, которое обеспечивает эффективное гашение сейсмических колебаний в конструкции.
Фото. http://aecc.ru





















